「軽量」と「利得」の2つの問題がついて回るのが山岳移動用アンテナの面白く、そして難しい所です。 (^_^;)
利得を増やすなら、多素子にして行けば良いのですがそれでは重くなってしまいます。そこで今回は、同じ素子数なら2エレより利得があると言われている2エレデルタループを作成してみることにしました。
今回は製作する前に、JA1WXB松田氏の作成した「アンテナ特性解析プログラム MMPC」を使用して2エレデルタループの性能を計算で求めて見ました。このソフトは使用する素材から計算によりアンテナの特性を求めることが出来ます。これによっていちいち製作しないでも素材のチェックや性能把握ができます。
一般的にデルタループと言えばブームからツノのようにエレメント・パイプを張り出し、上部をワイヤで接ぐと言った構造に相場が決まっています。この方法だと給電点を高く出来ますが、全体の重量バランスが不安定になるために、それを支えるにはしっかりしたマストが入ります。この「しっかりしたマスト=重い」と言う式が成り立ちますので、この式を解決する為に構造を変えてみました。
今回作成したデルタループは、水平の部分にアルミパイプを使用し斜めの部分にワイヤを使うと言った方式です。この方式ですと給電点は低くなる物のマストには余り負荷が掛かりません。方式が決まった所で以下の条件をつけて計算させてみました。
これらのデータを加味して計算させた結果が下図になります。
--------------------------------------------------------------------------------

--------------------------------------------------------------------------------

--------------------------------------------------------------------------------
水平部に直径7mm肉厚0.5mmのパイプを使用
斜辺部に直径1mmのステンレスワイヤ使用
性能としては、50.270MHzで
フロントゲイン5.76dBd
F/B比 9.96dB
になりました。
ループの高さは約2mですから、5mのケーブルフィシャーで給電点は地上高3mと言うことになります。
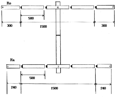
左図が完成予想図です。
<水平部エレメントの分解図>
水平部に使用するアルミパイプのエレメントは持ち運びしやすいように、図のように最長部が500mmの5分割のパイプで構成します。
分割した5本のパイプは紐を引っ張ることにより1本のエレメントになります。
この方法は、テントのポールなどに使用されているジョイント方法と同じ仕組みで、私が一貫して使用している作成方法です。
<水平部のエレメント完成写真>
| 部品名 | 個数 |
| 肉厚0.5mmのアルミ丸パイプ 直径7mm X 長さ1000mm | 5本 |
| 肉厚0.5mmのアルミ丸パイプ 直径6mm X 長さ1000mm | 1本 |
| ネジ、水糸、ケーブルストッパーなどの小物 | 少々 |
<給電部分>

給電部は50オームになる設計ですのでそのまま直接給電しても良いと思いますが、一応プラスチックケースの中にFCZのアンテナバランキットを利用し1:1のバランを作成して内蔵しています。
| 部品名 | 個数 |
| プラスチックケース W55 X H20 X D40 | 1個 |
| FCZアンテナバランキット 寺子屋シリーズ 048B |
1個 |
| BNC型コネクター | 1個 |
| ネジ | 少々 |
<ブームをマストに固定>

<各部品の写真>

<実戦で使用中の2エレデルタ>

ほるす(後藤 @ JR1NNL )